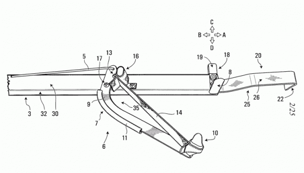
Canada Post is refusing comment on a secret corporate development plan for – a stick. Neither the Crown agency nor its union would take Blacklock’s questions on a new invention identified as a “reaching device,” or discuss patent drawings: “It’s in the pilot stage at the moment.”



